Ważne jest, aby pamiętać, że każdy etap instalacji ma swoje znaczenie. Od wyłączenia głównego wyłącznika prądu, przez poprawne podłączenie kabli DC i AC, aż po montaż zabezpieczeń — każdy z tych kroków jest niezbędny do prawidłowego działania systemu. Jeśli nie czujesz się pewnie w tej dziedzinie, warto rozważyć pomoc certyfikowanego elektryka.
Kluczowe informacje:- Wyłącz główny wyłącznik prądu przed rozpoczęciem prac, aby zapewnić bezpieczeństwo.
- Podłącz kable DC z paneli słonecznych do falownika, zwracając uwagę na polaryzację.
- Wykonaj połączenia AC z falownikiem do rozdzielnicy głównej, używając odpowiednich przewodów.
- Montaż zabezpieczeń, takich jak wyłączniki różnicowo-prądowe, jest kluczowy dla ochrony systemu.
- Sprawdź wszystkie połączenia, aby upewnić się, że są dobrze zabezpieczone.
Jak prawidłowo podłączyć falownik: krok po kroku do sukcesu
Podłączenie falownika to kluczowy etap w instalacji systemu fotowoltaicznego. Właściwe połączenie zapewnia efektywne działanie całego systemu, dlatego ważne jest, aby każdy krok został wykonany z należytą starannością. Zaczynamy od przygotowania miejsca pracy oraz narzędzi, a następnie przechodzimy do właściwego podłączenia falownika do paneli słonecznych oraz sieci elektrycznej.Przygotowanie do podłączenia falownika obejmuje kilka istotnych kroków. Najpierw upewnij się, że wszystkie elementy są odpowiednio dobrane, a następnie przystąp do podłączenia kabli DC z paneli słonecznych do falownika, zwracając szczególną uwagę na polaryzację. Po podłączeniu DC, wykonaj połączenia AC, które łączą falownik z rozdzielnicą główną, używając odpowiednich przewodów o odpowiednim przekroju. Na końcu sprawdź wszystkie połączenia, aby upewnić się, że są one solidne i dobrze zabezpieczone.
Przygotowanie do instalacji: narzędzia i materiały potrzebne do pracy
Przygotowanie do instalacji falownika wymaga zgromadzenia odpowiednich narzędzi i materiałów, które ułatwią cały proces. Właściwy zestaw narzędzi jest kluczowy dla efektywności i dokładności montażu. Warto mieć pod ręką zarówno podstawowe narzędzia, jak i materiały, które będą niezbędne do podłączenia falownika do systemu fotowoltaicznego.
- Śrubokręty (krzyżakowy i płaski)
- Klucz do nakrętek
- Obcinacz do kabli
- Izolacja elektryczna
- Kable DC i AC o odpowiednim przekroju
- Wtyczki i złącza
- Multimetr do pomiarów elektrycznych
Jak unikać zagrożeń elektrycznych podczas instalacji
Aby zminimalizować ryzyko zagrożeń elektrycznych podczas instalacji falownika, kluczowe jest przestrzeganie kilku prostych zasad. Przede wszystkim, zawsze wyłączaj zasilanie przed rozpoczęciem jakichkolwiek prac, aby uniknąć porażenia prądem. Używaj narzędzi z izolowanymi uchwytami oraz sprawdzaj, czy nie ma uszkodzeń w kablach, które mogą prowadzić do zwarć. Dodatkowo, warto pracować w suchym miejscu, aby zredukować ryzyko kontaktu z wodą, która może prowadzić do niebezpiecznych sytuacji.
Warto również pamiętać o stosowaniu odpowiednich osłon i zabezpieczeń, które chronią przed przypadkowym dotknięciem elementów pod napięciem. W przypadku jakichkolwiek wątpliwości, zawsze warto skonsultować się z profesjonalistą, który pomoże w prawidłowej instalacji i zapewni bezpieczeństwo całego systemu. Dobre przygotowanie i ostrożność to klucz do bezpiecznej pracy z instalacjami elektrycznymi.
Odpowiednie zabezpieczenia i odłączenia przed rozpoczęciem pracy
Przed rozpoczęciem jakiejkolwiek pracy z falownikiem, należy zastosować odpowiednie zabezpieczenia, które zapewnią bezpieczeństwo zarówno instalatora, jak i samego systemu. W pierwszej kolejności, upewnij się, że główny wyłącznik prądu jest wyłączony, co zapobiegnie przypadkowemu włączeniu zasilania podczas pracy. Dodatkowo, warto zainstalować wyłączniki różnicowo-prądowe, które mogą zareagować na wszelkie nieprawidłowości w przepływie prądu, oferując dodatkową warstwę ochrony.
Nie zapominaj także o oznaczeniu obszaru roboczego, aby zminimalizować ryzyko przypadkowego dostępu osób postronnych. Wszystkie te środki ostrożności są kluczowe dla zapewnienia bezpiecznego środowiska pracy i pomogą uniknąć potencjalnych zagrożeń związanych z instalacją falownika. Dokładne przygotowanie i przestrzeganie zasad bezpieczeństwa to fundament każdej udanej instalacji elektrycznej.
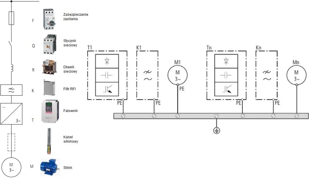
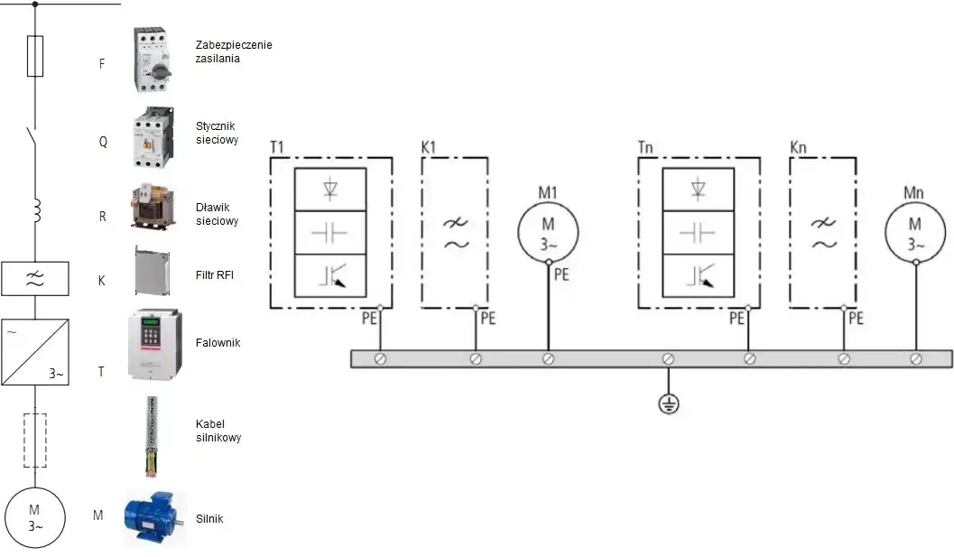
Podłączenie falownika: szczegóły połączeń DC i AC
Podłączenie falownika fotowoltaicznego wymaga precyzyjnych działań, zarówno w zakresie połączeń DC, jak i AC. W pierwszej kolejności, należy podłączyć kable DC, które prowadzą z paneli słonecznych do falownika. Upewnij się, że polaryzacja jest zachowana, co oznacza, że kabel dodatni (czerwony) powinien być podłączony do dodatniego wejścia falownika, a kabel ujemny (czarny) do ujemnego. Po prawidłowym podłączeniu kabli DC, sprawdź, czy wszystkie połączenia są szczelne i nie ma luzów, co mogłoby prowadzić do problemów w przyszłości.
Następnie przejdź do podłączenia falownika do sieci elektrycznej (AC). Użyj odpowiednich przewodów o odpowiednim przekroju, aby zapewnić stabilne połączenie z rozdzielnicą główną. Połączenie AC powinno być wykonane zgodnie z lokalnymi przepisami i normami, co zapewni bezpieczeństwo i efektywność całego systemu. Po zakończeniu wszystkich połączeń, dokładnie sprawdź ich poprawność przed włączeniem zasilania. Pamiętaj, że każde połączenie musi być solidne, aby uniknąć awarii systemu.
Krok po kroku: podłączenie paneli słonecznych do falownika
Podłączenie paneli słonecznych do falownika to kluczowy etap w instalacji systemu fotowoltaicznego. Rozpocznij od wyłączenia głównego zasilania, aby zapewnić sobie bezpieczeństwo podczas pracy. Następnie, zidentyfikuj odpowiednie wejścia DC na falowniku i podłącz kable prowadzące z paneli słonecznych. Zachowaj szczególną ostrożność, aby nie pomylić polaryzacji – kabel dodatni musi być podłączony do dodatniego wejścia, a kabel ujemny do ujemnego.
- Trina Solar TSM-350DE06M.08(II)
- JA Solar JAM72S10-450/PR
- Canadian Solar CS3W-450P
- LONGi Solar LR4-72HBD-450M
- Q CELLS Q.PEAK DUO G6 330-350W
Krok po kroku: podłączenie falownika do sieci elektrycznej
Podłączenie falownika do sieci elektrycznej to kluczowy etap w instalacji systemu fotowoltaicznego. Rozpocznij od wyłączenia głównego zasilania, co zapewni bezpieczeństwo podczas pracy. Następnie, przygotuj odpowiednie przewody AC, które będą łączyć falownik z rozdzielnicą główną. Upewnij się, że przewody mają odpowiedni przekrój, aby sprostać wymaganiom prądowym systemu. Po podłączeniu przewodów, dokładnie sprawdź, czy wszystkie połączenia są stabilne i dobrze zabezpieczone, aby uniknąć problemów w przyszłości.
Po zakończeniu podłączenia, włącz zasilanie i uruchom falownik, aby upewnić się, że działa poprawnie. Monitoruj jego działanie przez kilka dni, aby sprawdzić, czy nie występują żadne nieprawidłowości. Pamiętaj, że prawidłowe podłączenie falownika do sieci elektrycznej jest kluczowe dla efektywności całego systemu fotowoltaicznego, dlatego warto zwrócić szczególną uwagę na każdy krok procesu.
Czytaj więcej: Czy fotowoltaika działa w nocy? Co musisz wiedzieć o energii słonecznej
Typowe błędy przy podłączaniu falownika i jak ich unikać
Podczas instalacji falownika mogą wystąpić różne błędy, które mogą wpłynąć na jego działanie. Jednym z najczęstszych błędów jest nieprawidłowe podłączenie przewodów DC i AC, co może prowadzić do uszkodzenia urządzenia lub obniżenia jego wydajności. Ważne jest, aby upewnić się, że polaryzacja jest zachowana, a przewody są podłączone do odpowiednich wejść. Niezastosowanie się do tych zasad może skutkować poważnymi problemami technicznymi.
Kolejnym typowym błędem jest zbyt mała średnica przewodów, co może prowadzić do przegrzewania się i uszkodzenia instalacji. Warto zainwestować w przewody o odpowiednim przekroju, aby zapewnić stabilne i bezpieczne połączenie. Przed rozpoczęciem instalacji, dobrze jest również zapoznać się z instrukcją producenta falownika, aby uniknąć typowych pułapek, które mogą prowadzić do nieprawidłowego działania systemu.
Jak optymalizować wydajność falownika w dłuższym okresie
Po prawidłowym podłączeniu falownika, kluczowe jest również jego optymalne zarządzanie i monitorowanie, aby maksymalizować wydajność systemu fotowoltaicznego. Użycie nowoczesnych narzędzi do monitorowania, takich jak aplikacje mobilne lub platformy internetowe, może dostarczyć cennych informacji o działaniu falownika oraz jego efektywności w czasie rzeczywistym. Regularne sprawdzanie parametrów, takich jak napięcie, prąd i wydajność, pozwoli na wczesne wykrywanie potencjalnych problemów oraz dostosowywanie ustawień, co przyczyni się do dłuższej żywotności urządzenia.
Dodatkowo, warto rozważyć instalację systemów zarządzania energią, które automatycznie optymalizują zużycie energii w domu, co może znacząco wpłynąć na oszczędności. Takie systemy mogą integrować się z falownikiem, aby maksymalizować wykorzystanie energii słonecznej, minimalizując jednocześnie zależność od sieci. W dłuższej perspektywie, takie podejście nie tylko zwiększa efektywność energetyczną, ale również przyczynia się do zrównoważonego rozwoju i ochrony środowiska.






