Jaki falownik do agregatu prądotwórczego - uniknij błędów w wyborze
Wybierz odpowiedni falownik do agregatu prądotwórczego. Sprawdź, na co zwrócić uwagę, by uniknąć błędów przy zakupie i cieszyć się niezawodną energią.
Wybierz odpowiedni falownik do agregatu prądotwórczego. Sprawdź, na co zwrócić uwagę, by uniknąć błędów przy zakupie i cieszyć się niezawodną energią.
Sprawdź, ile prądu pobiera bojler elektryczny i jakie są różnice w zużyciu energii między standardowymi a energooszczędnymi modelami.
Zwiększ moc falownika i uniknij strat w energii słonecznej. Sprawdź skuteczne metody, które poprawią wydajność Twojego systemu fotowoltaicznego.
Jak odpowietrzyć bojler elektryczny, aby poprawić jego działanie i uniknąć problemów z ciepłą wodą. Sprawdź skuteczne metody i porady!
Dowiedz się, jak zresetować falownik solaredge, aby uniknąć problemów z urządzeniem i zapewnić jego prawidłowe działanie. Sprawdź nasze wskazówki!
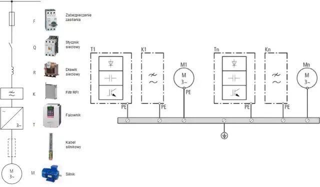
Dowiedz się, jak podłączyć falownik do silnika 3 fazowego, unikając najczęstszych błędów. Zwiększ efektywność swojej instalacji już teraz!
Ile kosztuje bojler do centralnego ogrzewania? Sprawdź ceny różnych typów i dowiedz się, na co zwrócić uwagę przy zakupie, aby zaoszczędzić.
Dowiedz się, jak podłączyć bojler z podwójną wężownicą, unikając najczęstszych błędów. Sprawdź nasze porady i ciesz się efektywnym działaniem systemu C.O.
Dowiedz się, jak podłączyć falownik do sieci WiFi i uniknąć typowych błędów. Sprawdź nasze sprawdzone wskazówki i zwiększ efektywność swojego systemu.
Wybierz idealną grzałkę do bojlera 200l Galmet. Sprawdź, jakie parametry i moc są najlepsze, aby zapewnić efektywne podgrzewanie wody.
Zastanawiasz się, co się bardziej opłaca: bojler czy podgrzewacz? Sprawdź porównanie kosztów i wydajności, aby podjąć najlepszą decyzję dla swojego domu.
Dowiedz się, jak podłączyć falownik do pompy głębinowej, unikając najczęstszych błędów. Zwiększ efektywność i bezpieczeństwo swojej instalacji!
Dowiedz się, jak podłączyć falownik, unikając najczęstszych błędów i zagrożeń. Zwiększ bezpieczeństwo i efektywność swojego systemu energetycznego!
Sprawdź, jak sprawdzić czy grzałka w bojlerze jest spalona, by uniknąć kosztownych napraw i cieszyć się ciepłą wodą bez problemów.
Ile prądu pobiera bojler? Sprawdź, jak obliczyć zużycie energii i poznaj skuteczne sposoby na jego obniżenie, aby zaoszczędzić na rachunkach.
Wybierz idealny bojler dla 4 osobowej rodziny. Sprawdź, jakie modele i pojemności najlepiej spełnią Twoje potrzeby oraz pozwolą oszczędzać na rachunkach.
Podłączanie solarnego do bojlera to prosty proces. Dowiedz się, jak skutecznie wykorzystać energię słoneczną do podgrzewania wody w Twoim domu!
Ile prądu zużywa grzałka do bojlera? Dowiedz się, jak obliczyć zużycie energii i wprowadzić oszczędności w swoim domu.
Ile prądu zużywa falownik fotowoltaiczny? Dowiedz się, jakie są koszty i efektywność, aby lepiej zarządzać swoją instalacją solarną.
Zobacz, jak łatwo odpalić bojler gazowy Ariston. Przeczytaj proste kroki i porady naprawcze, aby cieszyć się ciepłą wodą bez problemów.
Podłącz bojler do pieca CO z naszym szczegółowym schematem. Dowiedz się, jak to zrobić krok po kroku, aby zapewnić efektywne ogrzewanie.
Zamontuj czujnik temperatury w bojlerze skutecznie, unikając najczęstszych błędów. Sprawdź, jak poprawnie go zainstalować i zapewnić efektywność działania.
Dowiedz się, dlaczego wyłącza się falownik i poznaj najczęstsze przyczyny oraz skuteczne rozwiązania, aby przywrócić jego prawidłowe działanie.
Czy falownik na noc się wyłącza? Sprawdź, jak to wpływa na Twoje oszczędności i wydajność systemu. Dowiedz się więcej już teraz!
Zrozum, jak działa bojler, jego kluczowe elementy oraz proces podgrzewania wody. Dowiedz się, jak efektywnie korzystać z ciepłej wody w domu.
Poznaj przyczyny, dlaczego bojler bulgocze, oraz skuteczne rozwiązania, które pomogą Ci w naprawie i poprawie jego działania.
Poznaj, co to jest falownik fotowoltaiczny i jak wpływa na efektywność Twojej instalacji. Zwiększ oszczędności i wykorzystanie energii słonecznej!