Co to jest falownik fotowoltaiczny i jak wpływa na Twoją instalację?
Poznaj, co to jest falownik fotowoltaiczny i jak wpływa na efektywność Twojej instalacji. Zwiększ oszczędności i wykorzystanie energii słonecznej!
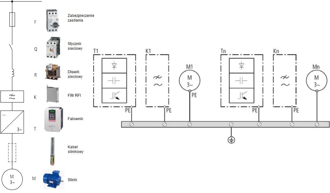
Poznaj, co to jest falownik fotowoltaiczny i jak wpływa na efektywność Twojej instalacji. Zwiększ oszczędności i wykorzystanie energii słonecznej!
Falownik elektryczny to kluczowy element w systemach energetycznych. Dowiedz się, jak działa i jakie ma zastosowania w przemyśle i codziennym życiu.
Dowiedz się, jak dobrać akumulatory do fotowoltaiki, uwzględniając zużycie energii, moc instalacji i typy akumulatorów, aby uniknąć kosztownych błędów.
Wybór odpowiedniego agregatu do fotowoltaiki jest kluczowy. Sprawdź, jaki agregat do fotowoltaiki zapewni efektywność i zminimalizuje koszty eksploatacji.
Czy fotowoltaika działa w nocy? Dowiedz się, jak magazyny energii pozwalają korzystać z energii słonecznej także po zmroku i jakie mają zalety.
Dowiedz się, jak obliczyć opłacalność fotowoltaiki, aby uzyskać oszczędności z energii słonecznej i uniknąć kosztownych błędów przy inwestycji.
Oblicz zapotrzebowanie na energię dla systemu fotowoltaicznego. Dowiedz się, jak dobrać moc instalacji i zaoszczędzić na rachunkach za prąd.
Zastanawiasz się, jaka aplikacja do fotowoltaiki Tauron jest najlepsza? e-Licznik umożliwia monitorowanie energii i optymalizację kosztów dla prosumentów.
Ile zwrotu za fotowoltaikę? Dowiedz się, jakie dotacje i korzyści możesz uzyskać, inwestując w panele słoneczne i skracając czas zwrotu.
Zastanawiasz się, ile kosztuje fotowoltaika 4 kW? Sprawdź szczegóły dotyczące kosztów, dofinansowania oraz ukrytych wydatków związanych z instalacją.
Wybór falownika 1 czy 3 fazowy jest kluczowy dla efektywności systemu fotowoltaicznego. Sprawdź, który falownik zapewni największe oszczędności!
Ile zarabia monter fotowoltaiki w Polsce? Sprawdź aktualne wynagrodzenia, czynniki wpływające na pensje oraz możliwości rozwoju w tej dynamicznej branży.
Zastanawiasz się, na co zwrócić uwagę przy fotowoltaice? Dowiedz się, jak uniknąć kosztownych błędów i maksymalnie wykorzystać energię słoneczną.
Dowiedz się, jakie są procentowe odliczenia fotowoltaiki od podatku. Sprawdź, ile możesz zaoszczędzić i jakie ulgi przysługują w Polsce.
Dowiedz się, do kiedy montaż fotowoltaika na starych zasadach jest możliwy. Sprawdź terminy i korzyści przed wprowadzeniem nowych regulacji!
Znajdź odpowiedź na pytanie: fotowoltaika która firma najlepsza. Sprawdź nasze porównanie i opinie, aby uniknąć kosztownych błędów przy wyborze.
Zainstaluj fotowoltaikę bez błędów! Dowiedz się, jak przygotować dokumentację, wybrać komponenty i skutecznie zamontować panele słoneczne.
Wybierz odpowiedni peszel do fotowoltaiki, aby uniknąć kosztownych błędów. Dowiedz się, jakie materiały i grubości zapewnią najlepszą ochronę instalacji.
Oblicz, jaka moc fotowoltaiki na dom jednorodzinny jest potrzebna, aby zminimalizować koszty energii. Sprawdź, jak panele słoneczne mogą przynieść oszczędności.
Zastanawiasz się, jak zacząć inwestycję w fotowoltaikę? Dowiedz się, jak uniknąć kosztów i zyskać na energii słonecznej dzięki dotacjom i audytowi energetycznemu.
Zastanawiasz się, czy fotowoltaika na raty to opłacalna inwestycja? Dowiedz się, jakie korzyści przynosi i jak obniżyć koszty energii elektrycznej.
Poznaj ukryte koszty i problemy związane z fotowoltaiką o czym nie mówią monterzy. Dowiedz się, jakie zagrożenia mogą wpłynąć na Twoje zyski!
Zastanawiasz się, jaka najlepsza taryfa przy fotowoltaice? Sprawdź, jak taryfa G12 i G11 mogą pomóc w oszczędzaniu na rachunkach za prąd.
Wybór odpowiedniego falownika do fotowoltaiki jest kluczowy dla efektywności systemu. Sprawdź, jak uniknąć błędów i wybrać najlepsze rozwiązanie.
Zmiany w fotowoltaice od kiedy? Dowiedz się, jakie nowe regulacje obowiązują i jak wpływają na prosumentów oraz opłacalność instalacji.